Sabre de luz “real” é mostrado pela Disney para divulgação de resort Star Wars
07/05/2021Conforme texto publicado pelo site Disney Park Blog (reproduzido abaixo), a Disney finalmente conseguiu reproduzir um sabre de luz que funciona de verdade, sem claro a capacidade de cortar um braço ou uma mão.
Em um demonstração fechada e depois especialmente no dia 4 de Maio (dia de Star Wars), em um vídeo onde uma modelo demostra a arma clássica Jedi funcionando.
O presidente da Disney Parks, Josh D’Amaro, apresentou o sabre pela primeira vez no mês passado, durante uma apresentação fechada para um pequeno número de repórteres.
A ideia é que em 2022 esse brinquedo realista esteja a disposição para venda para quem se hospedar no resort. (correção abaixo)
[errata]
Ao que parece, o item não será comercializado para os participantes do cruzeiro, o que significa que vai levar um tempo para que ele chegue às lojas.
Considerando que a réplica foi feita para ser usada pelos atores dos parques Disney, é provável que a versão feita para o comércio seja diferente da que foi feita para os parques.
O sabre de luz funcional e a experiência “Galactic Starcruiser” representam como a Disney está evoluindo seus parques além de apenas passeios e hotéis.
Abaixo reprodução do texto do site.
Os visitantes que experimentarem Star Wars : Galactic Starcruiser serão os primeiros a vê-lo em ação – junto com muito mais – a partir de 2022, quando esta incrível nova aventura de duas noites estreará. Assistir aquele sabre de luz ser ativado bem diante de seus olhos será apenas uma das inúmeras maneiras pelas quais, desde o momento de sua chegada até o momento de sua partida, você será mergulhado em uma história de Star Wars onde suas decisões e ações – ou até mesmo as conversas casuais você pode ter – determine como sua jornada pessoal se desenrola.
Sua aventura começa no terminal Star Wars : Galactic Starcruiser no Walt Disney World, onde você se reunirá com outros passageiros antes de partir para seu destino intergaláctico. Em breve, você entrará em um Pod de Lançamento especial e deixará seu mundo para trás enquanto faz um salto no hiperespaço para uma galáxia muito, muito distante.
Você observará através das janelas de exibição conforme se aproxima do enorme e magnífico cruzador estelar Halcyon , que será sua casa nas próximas duas noites. Por um tempo limitado, os hóspedes Hollywood Studios da Disney agora pode ver um modelo do navio em exposição dentro Presents Walt Disney – outro especial de maio a 4 ª surpresa!
Quando a eclusa de ar do Pod de Lançamento se abrir, você dará o primeiro passo em uma galáxia muito, muito distante, à medida que Star Wars : Galactic Starcruiser ganha vida ao seu redor. Durante a sua estadia a bordo deste navio glamoroso, você pode interagir com um grupo eclético de personagens, tanto familiares quanto novos, possivelmente incluindo o capitão forte e carismático do cruzador, o mecânico de um navio corajoso e uma superestrela galáctica que pode cativar uma sala inteira com o trapaceiro de um Dedo Twi’lek roxo incrustado de joias.
Essa sensação musical será um artista de destaque durante uma de suas experiências gastronômicas requintadas dentro da sala de jantar Crown of Corellia, que você pode ver neste conceito artístico que estamos compartilhando hoje pela primeira vez. O nome do atraente clube de jantar é uma homenagem a Corellia, o planeta conhecido em toda a galáxia por seus estaleiros que nos deram não apenas o cruzador estelar Halcyon , mas também o Millennium Falcon . A sala de jantar é uma sala iluminada e acolhedora que oferecerá café da manhã e almoço aos passageiros antes da transição todas as noites para um luxuoso menu de vários pratos de origens sobrenaturais e familiares.
Conforme sua jornada continua, você terá a oportunidade de treinar nos métodos antigos do sabre de luz, aprender mais sobre o funcionamento interno do cruzador estelar Halcyon e até mesmo embarcar em um transporte para o planeta Batuu para continuar sua aventura em Star Wars : Galaxy’s Borda. Isso não é contar histórias – é viver uma história , onde você verá, sentirá e viverá Star Wars de uma maneira totalmente nova.
Teremos muito mais para compartilhar sobre Star Wars : Galactic Starcruiser no futuro, enquanto esperamos sua estreia em 2022; você sempre pode visitar starwarsgalacticstarcruiser.com para obter mais detalhes e se inscrever lá para receber atualizações.
Você observará através das janelas de exibição conforme se aproxima do enorme e magnífico cruzador estelar Halcyon , que será sua casa nas próximas duas noites. Por um tempo limitado, os hóspedes Hollywood Studios da Disney agora pode ver um modelo do navio em exposição dentro Presents Walt Disney – outro especial de maio a 4 ª surpresa!
Conforme sua jornada continua, você terá a oportunidade de treinar nos métodos antigos do sabre de luz, aprender mais sobre o funcionamento interno do cruzador estelar Halcyon e até mesmo embarcar em um transporte para o planeta Batuu para continuar sua aventura em Star Wars : Galaxy’s Borda. Isso não é contar histórias – é viver uma história , onde você verá, sentirá e viverá Star Wars de uma maneira totalmente nova.
Teremos muito mais para compartilhar sobre Star Wars : Galactic Starcruiser no futuro, enquanto esperamos sua estreia em 2022; você sempre pode visitar starwarsgalacticstarcruiser.com para obter mais detalhes e se inscrever lá para receber atualizações.
E já que é de maio a 4 ª , cheque soltou alguns outros Star Wars acontecimentos no Walt Disney World, em homenagem a este dia especial.
Star Wars Galactic Outpost em Disney Springs e locais selecionados no Disney’s Hollywood Studios estão apresentando novos produtos disponíveis a partir de hoje (enquanto durarem os estoques), incluindo roupas com a nova série Disney + “The Bad Batch” (também estreando hoje). Também há novos itens da coleção Rainbow Star Wars , bem como novos Disney Parks Wishables inspirados em Star Tours, incluindo R2-D2 e C-3PO.
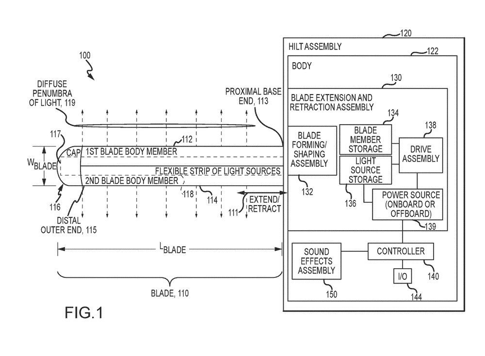
Fique com as imagens da patente abaixo:
1 .
Os filmes e séries da franquia Star Wars podem ser vistos na Disney Plus.
Next, widen the tapes and increase the curve, allowing them to partially wrap around each other and form a complete cylinder. Drive this system with a motor so both reels can be extended and retracted in synch at the push of a button. Now, you've got a lightsaber! pic.twitter.com/B3lLMmclDN
— Ben Ridout (@benridout) April 12, 2021


